【一元一分麻将群CNMO科技消息】近日,有外媒报道称,苹果申请了一项关于MacBook摄像头的全新专利,这项专利可能会让刘海屏设计成为历史。

苹果MacBook
目前,苹果MacBook系列笔记本电脑的摄像头仍采用刘海设计。最新研究显示,苹果还在不中断优化MacBook系列的摄像头系统,并探索其他改进方案,以避免因增加摄像头模块而导致笔记本电脑体积过大。
这项新授予的专利,名为“便携式电子设备的摄像头集成”,该专利探讨了在不增加笔记本电脑体积或重量的情况下,为MacBook提供更高质量摄像头的可能性。据悉,苹果在2024年曾获得过一项类似理念的专利。

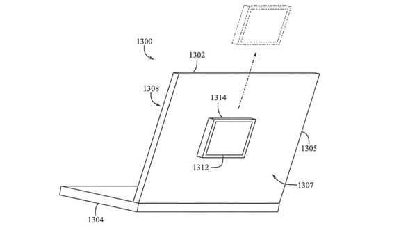
根据新专利的图纸,新的摄像头系统厚度可能不超过3毫米,并且可能覆盖在MacBook Pro的机盖上,通过磁吸来固定该系统。

此外,该专利多次提到相机模块能够与其他类似模块通讯。例如,一个相机位于显示屏的前面,面向用户,另一个则在背面。 还提到了可能存在的旋转显示屏。用户可以将一个摄像头模块安装在MacBook Pro屏幕盖的背面,然后在需要拍摄时旋转整个屏幕。然而,该专利并未重点说明这一点,也没有列出如何实现这种旋转。

外媒猜测,这也可以是一个无线屏幕,而不是连接到笔记本电脑另一部分的旋转屏幕。它有可能从设备中取出并重新定位。
评论列表 (条)